contact us

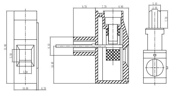
材質
螺絲:M4鋼 鍍鋅
鋼絲護網(wǎng):磷青銅
鍍鎳或不銹鋼
焊針:黃銅 鍍錫
塑件: 黃銅 鍍錫
塑件: PBT, UL94V-0
電氣性能
額定電壓: 250V
額定電流: 10A
接觸電阻: 20mΩ
絕緣電阻:5000MΩ/1000V
耐電壓:AC 1500V/1Min
使用線徑:26-10AWG 2.5mm2
機械性能
溫度范圍:-30℃~+120℃
瞬時溫度:+250℃,for 5 Sec
扭距:0.4Nm(3.6lb.in)
剝線長度:4.5-5mm